![]() |





1、概述
广泛应用于变电站、对电压互感器二次绕组电压实现保护、监视、并列。能够在电力系统中长期正常运行。
2、产品结构特点
2.1机柜前面为单开玻璃门,后面为双开钢板门,且上、下各有两排通风长孔。
2.2 当机柜排列成一排安装时,相邻机柜间的侧门可拆卸,并可通过锣杆将相邻机柜相连,机柜侧面设有穿线孔。
2.3 机柜前面板下部设有穿线孔,供调试、检测接线用。
2.4 端子排安装在左、右两侧的端子条轨上。柜内走线安排在端子排的内侧,用户电缆安排在端子排的外侧。 2.5 柜内的接地铜牌用瓷瓶悬空安装,与柜体无电气连接。另在柜内设与接 地网相连的M6、M8接地螺栓,数量各不少于3套。
2.6 柜内照明使用40W防爆灯,灯的开关通过空气开关手动控制。
2.7 屏顶部配备4台独立控制的风扇,并预留通风孔,防尘、散热。
2.8 柜体为全封闭组合式结构,柜门为玻璃门,安装板固定在可旋转框架内。
2.9 柜的外壳采用经优选的精加工的冷轧薄钢板,其厚度不小于1.5~2mm,以其结构上足够的加固来保证平坦的表面和钢度,并在装运和安装时防止振动。
2.10 柜门用一块平板制作,为保证刚度,门边向后卷成矩形,门平直,装设暗铰链,门手柄形式采用用户可接受的形式。
2.11 顶部和底部采用棒型插锁,门在打开状态下,柜的底部设置金属门槛,高度不超过20mm,其目的仅是在柜的开口处设置一许可的障碍。
2.12 柜的底面有安装用的支撑板,柜完全矩形,对角线误差符合国家标准,以与相邻柜能很好配合。
2.13 成套柜的材料选样和制造工艺使柜的外部和内部达到外观整洁,柜的外部没有出现焊缝、铆钉或螺栓头,柜的全部外表面真正平滑。
2.14 柜内电压的设计绝缘水平为交流600V。
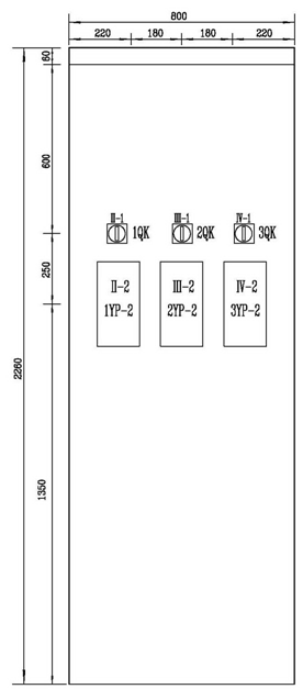
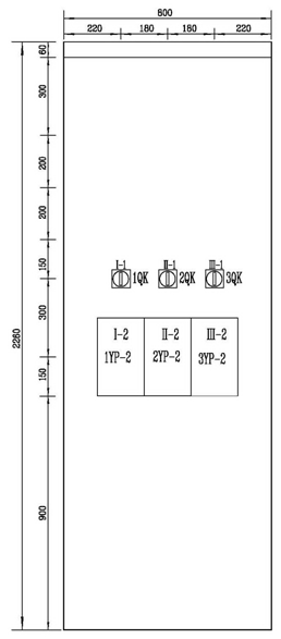
2.15 基本尺寸和颜色宽:800mm深:600mm高:2260mm柜体颜色为RAL7035。
2.16 屏架、门、顶盖等外观涂膜平整、不仅光、色泽一致,且无气孔砂眼、裂纹、伤痕、锈斑现象。
2.17 每面柜的底部装一根铜芯接地母线,铜母线的最小截面积为100mm2,屏外壳有接地螺丝。
2.18 每一个接到接地母线处的螺栓接头、套管和分接头(除控制和仪表回路接地连接件外)符合国家标准。
2.19 接地装置有标记,标记不会消失,接地母线标记为TE,接地螺丝标记为PE,接地采用跨接线或连接片,这样接地点可被折开。
2.20 柜中非电连接的二个独立电路之间,及各带电回路与屏架之间的绝缘电阻在正常大气条件下,不小于:50~100MΩ,在湿热条件下(温度40±2℃,相对湿度90%~98%,大气压力86~108KP2)不小于1MΩ。
2.21 在正常大气条件下,屏上非电连接的二个独立电路之间,及各带电回路与屏架之间,能承受50Hz,交流试验电压2500V(有效值)历时1分钟的试验,无击穿或闪络现象(不包括弱电及直流部分)。
2.22 接线端子
所有端子的额定值为1000V、10A, 压接型端子,采用魏得米勒端子。端子型号的选择与回路性质相匹配,电流电压回路的端子能接不小于4 mm2的电缆芯线。CT和PT的二次回路应提供标准的试验端子, 便于断开或短接装置的输入与输出回路。一个端子只允许接入一根导线。端子有明显的编号,端子排间有足够的绝缘, 端子排根据功能分段排列,各回路之间、电源回路与其它端子之间要设置隔离端子,端子排留有总端子数20%的空端子,以供设计时作转接或过渡用。端子排间留有足够的空间, 便于外部电缆的连接。端子排牢固固定,使其不致于振动、发热等而变松,同时还能方便地进行检查和维护。
3、电压监视及消谐回路
采用电压继电器或电压监视装置监视计量回路电压是否消失,采用零序电压继电器监视电压互感器开口三角是否零序过电压。用消谐装置对电压互感器开口三角多次谐波实现谐波消除。电压监视及消谐回路电源分别采用独立空气开关控制,便于设备检修维护。
4、电压并列回路
采用继电器或电压并列装置来并列两段母线电压,分别对电压互感器保护回路及测量回路、计量回路的电压进行并列。转换开关实现就地或远方并列。每个并列回路控制电源采用独立空气开关控制,便于设备检修维护。
5、机柜工艺技术
5.1机柜材质:框架采用2mm冷轧钢板,板材为1.5mm冷轧钢板。
5.2机柜结构:机柜前面为单扇玻璃门,后面为双扇金属门或旋转门;两侧装可拆卸挡板;各安装板分板制作;柜顶装盖板,并配开敲落孔及安装母线端子导轨,另需配吊装螺丝。
5.3 机柜表面处理:采用喷塑处理。
5.4 机柜安装附件:背后左、右两侧各装2米长的端子导轨;所有柜门与柜体相连的角落各需焊接一个M6的接地用镀锌镙杆,并配六角螺母。柜内经绝缘柱安装一条接地铜排。
5.5机柜外形尺寸、颜色:按订货要求确定。
6、布线工艺及端子:符合现行国家执行的标准和规程。
6.1交流电压回路。导线颜色: A相 黄色;B相 绿色;C相 红色;N相 淡蓝色;导线规格:2.5mm2 多股。
6.2交直流电源回路。220VL或DC+用褐色,220VN或DC-用蓝色;导线规格:1.5mm2 多股。
6.3接地:4mm2 多股黄绿相间水线。
6.4其它回路:采用1.5mm2 多股黑色导线。
6.5导线连接方式:采用压接、焊接或插接,并符合其本身标准的规定;所有导线中间无接头,导线在柜内的连接均经端子排或设备接线点。所有端子的连接牢固,可靠。一个端子或接线点接入导线最多2根电缆芯。
6.6导线型材:绝缘层采用阻燃型或耐火绝缘材料,绝缘层包裹铜芯。
6.7 导线放置:所有导线经线槽后用槽管盖住,外露导线用扎线束在一起,用绕管缠绕后,水平或垂直走向。
6.8 端子型号:所有端子采用菲尼克斯电压端子。
6.9短接端子采用铜质连接片连接,两组可连电压端子之间加分隔片。
7、铭牌标识
7.1柜体正面横眉上贴标牌,清楚标示柜的具体名称及类型。
7.2柜体正面下方丝印有公司名称。
7.3安装单元顶端清晰标出了安装单元的回路编号及单元名称,所有端子都用标记牌标示出端子码号。导线两端采用相对编号法。
8、检修维护
为日后检修、维护方便,柜内经空气开关装有照明灯。
9、订货须知
订货时请写明柜的型号、数量、外形尺寸、颜色、主要订货参数及特殊要求。
